C.H.I. Commercial Rolling Steel Service Doors: 6000

6000 Series Full Duty Insulated Service Doors

FEATURES

Insulated Models

  • 6182: 18 gauge/24 gauge backer (R-Value* 4.7 or 6.7)
  • 6202: 20 gauge/24 gauge backer (R-Value* 7.2)
  • 6222: 22 gauge/24 gauge backer (R-Value* 7.2)
  • 6242: 24 gauge/24 gauge backer (R-Value* 7.2)

Slat Profile

  • Flat Slat

Operation

  • Manual push-up, chain hoist (standard) or motor operation

Available Standard Colors

  • Gray or White for models 6182
  • Gray, White, or Galvanized exterior for models 6202
  • Gray, White, Tan, Brown, or Galvanized exterior for models 6222 and 6242
  • Gray, White, Tan, Brown, or Galvanized backer slat for all models

Powder coat

Half-hexagonal formed hoods

  • deliver superior structural rigidity and aesthetic appeal

Options and accessories available

*R-Values have been calculated in accordance with ASTM C518 standards


The Series 6000 roll-up garage doors are engineered and designed for maximum strength and durability. Manufactured to stringent code standards, the Series 6000 line is an industrial product built without shortcuts to provide a high degree of confidence for specifiers and end users.

Rolling Steel insulated doors are available in a variety of gauges, insulation and options to achieve your project requirements. A wide variety of slat profiles, gauges, and color options are available.


Curtain

SLAT PROFILE:

Insulated Flat Slat (IS) cover 2-1/2" by 13/16" deep

F2.5 Polystyrene Insulated Flat Slat Detail
Model 6182
F2.5 Urethane Insulated Detail
Model 6182
F2.7 Urethane Insulated Detail
Models 6202, 6222, 6242

GAUGE & MAXIMUM SIZE:

  • 6182: 18 gauge/24 gauge backer, 30'0" max std. width / 24'0" max std. height
  • 6202: 20 gauge/24 gauge backer, 30'0" max std. width / 24'0" max std. height
  • 6222: 22 gauge/24 gauge backer, 24'4" max std. width / 20'4" max std. height
  • 6242 24 gauge/24 gauge backer, 24'4" max std. width / 16'4" max std. height

COLOR/FINISH:

White Exterior
Gray Exterior
Galvanized Exterior
Tan Exterior
Brown Exterior

Backer/Interior Color:

White
Gray
Galvanized
Tan
Brown

ENDLOCKS & WINDLOCKS:

  • Malleable, zinc-placted cast iron endlocks and windlocks maintain curtain alignment and increase windload capacity. Galvanized malleable cast endlocks are fastened to every other slat. Windlocks are added as dictated by door size & windload requirement.
  • Windload: Designed to withstand a minimum of 20 lbs psf (per sq feet) of windload to an amount that prevents curtain per square foot of windload deflection to prevent buckling or being blown out of the guides.
Endlocks
Windlocks

VISION PANELS:

5" x 1-1/8" lites available in a variety of patterns

Hood

HALF-HEXAGONAL FORMED HOOD:

  • Fabricated from minimum 24 gauge galvanized steel sheet shaped to fit within the headplates.
  • Unique half-hexagonal shape is more rigid and easier to handle and install than more traditional round hoods
  • Intermediate hood support(s) furnished as required.
  • Available in colors/finishes to match curtain.

Mounting Options

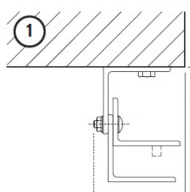
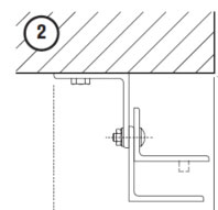
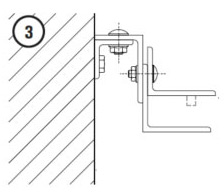
MOUNTING OPTIONS:

Mount to Steel, Masonry or Wood Jambs

E Guides
(Steel)
Z Guides
(Wood or Masonry)
Between Jamb Mount
(Wood, Masonry, or Steel)

GUIDES:

  • Fabricated from three (minimum 3/16”) structural steel angles bolted together to form guide channel.
  • Guide angles include curtain stops & flared guides
  • 24" service panel is standard simplifying the replacement of damaged slats or bottom bar
  • Black painted standard finish
  • Optional finishes include hot-dipped galvanize, cold sprayed galvanize, or RAL powder coat in 188 color options

HEADPLATES:

  • Fabricated from minimum 1/4” steel plate.
  • Drive side of barrel to be provided with precision sealed ball bearing in cast iron housing

Headplates vary in size according to door size

Operation

Available with Chain-hoist (standard), Manual Push-up and Motor Operation

Chain-hoist operation
(comes standard)
Motor Operation
Motor Operation

MOTOR OPERATION:

  • Available in 1/3 to 5 HP as required; single- or three-phase available
  • Refer to the motor operator area chart to select operator type based on dimensions and gauge
  • Choose between wall mount or front of headplate mount. Use the charts to determine headroom, sideroom and backroom clearance requirements.

SPRINGS:

  • Spring tension assembly within barrel by precision ball bearings.
  • Assembly designed for 20,000 cycle life springs (Standard). Higher cycles optional

Counterbalance

Door Options

LOCKS:

  • Manual push-up doors furnished with interior slide bolt locks with padlock provision standard.
  • Chain hoist doors operated doors furnished with chain hoist keeper suitable for padlocking

Slide Lock Bolts

INERTIA BRAKES:

  • Located on the drive shaft, these breaks sense a sudden increase in rpm and apply immediate braking to prevent curtain free-fall.

Inertia Brakes

SLOPING BOTTOM BAR:

Designed for those applications where the floor or sill of the opening is sloped due to the building being built on an incline (think San Francisco or Pittsburgh). This option provides a secure closure to the opening even without the traditional 90 degree squared openings at the floor level.

SUPER-IMPOSED or DOOR-BEHIND-A-DOOR:

The C.H.I. superimposed rolling steel door is two doors sharing a single pair of head plates and wall angles. The door is designed for applications that require maximum security and an environmental barrier some of the time and allow airflow and security at other times. A number of different door and grille combinations are possible. These superimposed door designs are preferred in many commercial, industrial, defense, and food service applications.

Super-Imposed Door